
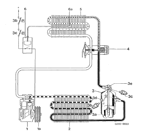
1 Compresseur
1a embrayage
électromagnétique
2 condenseur
3 réservoir
3a filtre-dessiccateur
3b manocontact haute pression
3c manocontact basse pression
3d regard
3e fusible
4 valve d'expansion
5 evaporateur
6 contact thermostatique
6a sonde de température
Haute pression - liquide
Haute pression - gaz
Basse pression - liquide
Basse pression - gaz
Valve d'expansion thermostatique
Remarques concernant les réparationsCache en acier inoxydable de la roue de secours
Prenez le tournevis dans la trousse de l'outillage de bord.
ouvrez le verrou du cache circulaire 1
avec un tournevis 3 ou un objet similaire.
rabattez la languette 2 vers le bas.
Ecartez le cache circulaire 1 et enlevez-le.
retirez la plaque de recouvrement 4.
Lors de ...
Unité de commande du climatiseur automatique thermatic 2 zones
Uniquement pour le canada
réglage de la température, côté gauche
dégivrage du pare-brise
activation et désactivation de la fonction zone
Mise en marche et arrêt du refroidissement avec déshumidification
de ...
Contrôle du niveau d'huile par l'intermédiaire de l'ordinateur de bord
Ne versez pas trop d'huile moteur. Si vous
avez versé une quantité d'huile moteur trop
importante, le moteur ou le catalyseur risquent
d'être endommagés. Faites aspirer
tout excès d'huile moteur.
G 65 amg : le niveau d'huile peut être contrôlé ...